行業新聞
肯富來化工泵密封易揮發性介質的特點
在石油化工及煉油廠中,有很多化工泵是在挨近介質沸點下作業,例如液化氣泵、輕烴泵、丙烯泵、液氨泵、熱水管道泵等。因而,這些泵的機械密封有可能在液相、汽(氣)相或汽液混相狀況下作業。因為這些介質的常壓沸點均低于通常泵的周圍環境,并且周圍壓力都是大氣壓力,因而,有必要留意勿使這類密封干作業或不安穩作業,在結構、輔佐辦法和作業條件操控方面采納有力的辦法,例如,加強沖刷確保密封腔壓力和溫度,可使密封處于液相狀況下作業或處于似液相狀況下作業,選用流體動壓密封能夠使密封在杰出的光滑狀況下作業,選用加熱辦法能夠使密封在安穩的汽相狀況下作業。此外還能夠選用串級式、機械密封。

圖1 液化石油氣用機械密封
圖1所示為一種液化石油氣用離心泵機械密封。這種密封是選用多點沖刷的旋轉式大繃簧平衡式機械密封。這種密封的特點是:
①選用多點沖刷,要比通常單點沖刷沿圓周散布均勻、變形小、散熱好、端面溫度均勻安穩,有利于密封面光滑、冷卻和相態安穩;
②選用多點沖刷能夠下降液體向周圍液體的傳熱速率,增大傳熱系數,有利于液膜安穩;
③一概選用平衡式密封,選用適宜的平衡系數,使之處于適宜的膜壓系數改變范圍內,不至于發作氣震或氣噴等疑問;
④為安全起見,除主密封外還裝有起節省、減漏、穩妥作用的副密封,因為一旦輕烴等液體走漏到大氣中,在軸封處會結成冰霜,使軸封磨壞構成更大走漏,乃至發作事端;⑤密封腔端蓋處備有蒸汽放空孔,在發動前排放聚積在密封腔內的蒸汽,以免構成氣囊構成機械密封干作業。

圖2 輕烴泵用熱流體動壓型機械密封
圖2所示為輕烴泵用熱流體動壓型機械密封。為了防止密封面間液膜汽化構成干沖突,在通常機械密封中選用沖刷辦法來進步密封腔壓力、下降密封液溫度以保持密封安穩的作業條件。但由于近年來輕烴泵的介質趨向輕質、高蒸汽壓、高吸入壓力方向開展,開發了動環密封面開半圓形槽的熱流體動壓密封,又稱流體動壓墊密封。流體動壓墊使密封面承載能力進步,改善了密封面光滑狀況,使之在安穩狀況下長時間作業。通常流體動壓墊有六個到十幾個。

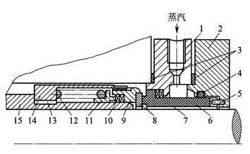
圖3 丙烯泵用汽相機械密封
1-加熱環;2-端蓋;3-墊;4-密封圈;5-防轉銷;6-靜環; 7-靜環墊;8-碳化鎢動環;9-動環座;10-動環墊;11-推環; 12-彈簧;13-傳動鍵;14-組裝盒;15-軸套
圖3所示為丙烯泵用汽相機械密封。它是在一個一般的平衡型機械密封基礎上改善的,除靜環和端蓋外,其他零件均是標準件。靜環的尾部加長,通以蒸汽加熱。其平衡系數p-0.8285,繃簧比壓Ps-0.133 MPa,沖突副平均線速度v=11.4m/s。曾在間隔密封端面3mm處丈量其溫度為96~98℃。明顯,密封端面間處于氣相。
標簽:   化工泵 管道泵


